500风量DOP液槽高效送风口产品介绍:
500风量DOP液槽高效送风口是高效送风口的一种做法。
500风量DOP液槽高效送风口是高效送风口的一种做法。
具有可更换高效过滤器的已液体密封方式的高效送风口,DOP液槽高效送风口(Pharmagel)广泛应用于医院、生物制药、半导体、液晶制造、精密机械、光学等技术领域。

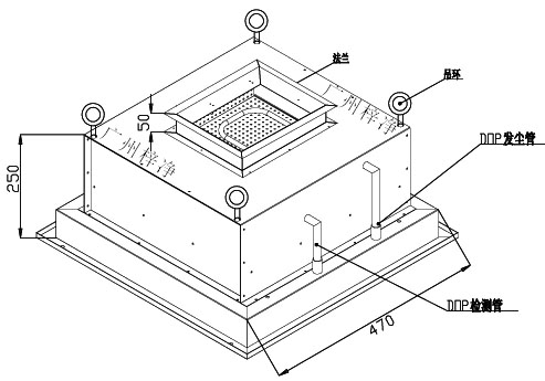
500风量DOP液槽高效送风口方案设计图:


推荐了解更多图片信息:双液槽高效过滤器图片
配套手动调节阀尺寸:方形200*200mm
500风量DOP液槽高效送风口技术参数表:

500风量DOP液槽高效送风口设计特点:
1、箱体表面采用静电喷塑处理,耐腐蚀性强,液槽密封设计进一步增强 了它的独特性。箱体主要采用冷轧钢板已焊接的方式连接,且所有的焊接都经过 特殊的胶密封处理,以防止空气泄漏。散流板以固定螺栓所固定,安装及拆卸较为方便,更换过滤器时,可直接在天花底部进行操作,而无需拆除天花 板系统上的箱体。
2、箱体顶部进风口中装有蝶形风阀,且在箱体底部的侧面用一个旋转的阀门调节装置控制,以调节进入洁净室内的风量。
3、过滤器的框架通过箱体四周的过滤器压件所支撑固定,为方便更换过滤器,所有过滤器压件能自由旋转。
4、并可防止空气通过倒行框架泄漏及箱体刀边滑出过滤器框架胶槽。

相关产品视频:500风量DOP高效送风口
由于DOP液槽高效送风口主要用于GMP制药厂洁净室高效送风,制作结构复杂,价格昂贵,如果不是药厂可选用普通新型高效送风口。
普通新型高效送风口主要有:
